Otevírací doba na Vánoce pouze 22.12. 8-12h a 29.12. 8-12h.

Čekejte prosím...
Zboží bylo vloženo do košíku
pokračovat v nákupu do košíku
Příslušenství pro karavaning Markýzy, předstany, plachty

Markýzy, předstany, plachty

V této hlavní kategorii najdete široký výběr produktů pro zlepšení pohodlí a funkčnosti vašeho karavanu nebo obytného vozu. Nabízíme vše, co potřebujete pro ochranu před sluncem, větrem a nepříznivými povětrnostními podmínkami, stejně jako pro zvýšení soukromí a komfortu při kempování.

Markýzy

  • Náš sortiment markýz zahrnuje různé typy a velikosti, které vám poskytují stín a ochranu před deštěm. Markýzy jsou snadno nastavitelné a ideální pro vytvoření venkovního prostoru přímo u vašeho karavanu nebo obytného vozu. A pro udržení vaší markýzy v perfektním stavu nabízíme širokou škálu příslušenství a náhradních dílů. Zde najdete vše od náhradních látek po montážní sady a další doplňky, které vám usnadní údržbu a opravy.

Předstany

  • Předstany jsou skvělým doplňkem pro každého kempaře, který hledá více prostoru a soukromí. Námi nabízené předstany jsou robustní, snadno se montují a nabízejí extra prostor pro bydlení, skladování nebo relaxaci. K předstanům nabízíme i širokou škálu doplňků a dílů k předstanům, které zajišťují, že váš předstan bude vždy v perfektním stavu. Od upevňovacích kolíků po napínací lana a další příslušenství, které zvyšuje funkčnost a pohodlí vašeho předstanu.

Sluneční střechy

  • Sluneční střechy poskytují skvělou ochranu před sluncem a lehkým deštěm. Jsou snadno nastavitelné a ideální pro vytvoření příjemného stíněného prostoru vedle vašeho karavanu nebo obytného vozu.

Střešní stany

  • Střešní stany jsou ideální pro ty, kteří hledají pohodlné a rychlé řešení pro přenocování. Nabízíme různé modely, které jsou lehké, snadno se montují a poskytují komfortní spánek.

Koberce

  • Koberce pro kempování přidávají další vrstvu pohodlí a čistoty. Naše koberce jsou odolné, snadno se čistí a jsou navrženy tak, aby vydržely i náročné podmínky kempování.

Plachty a zákryty

  • Plachty a zákryty poskytují extra ochranu pro váš karavan nebo vybavení. Jsou ideální pro ochranu před sněhem, větrem a prachem a pomáhají udržet váš karavan suchý a čistý.

Termoizolace

  • Pro zajištění komfortu v jakémkoliv počasí nabízíme termoizolační materiály, které pomáhají udržet teplo uvnitř vašeho karavanu během chladných nocí a chlad uvnitř během horkých dní.

Protivětrné stěny

  • Protivětrné stěny jsou skvělým doplňkem pro zvýšení soukromí a ochranu před větrem. Jsou snadno nastavitelné a poskytují dodatečný komfort během vašich venkovních aktivit.

ALU kedrové lišty

  • ALU kedrové lišty jsou nezbytné pro bezpečné pro upevnění markýz, plachet a dalších doplňků. Nabízíme různé velikosti a typy, aby vyhovovaly vašim specifickým potřebám.

Závěsné regály, kapsaře a boxy

  • Maximalizujte prostor ve vašem stanu nebo karavanu s našimi závěsnými regály, kapsáři a úložnými boxy. Nabízíme řešení pro každý kout.

Kempingové skládací skříňky

  • Udržujte svůj kempingový prostor organizovaný s našimi skládacími skříňkami. Tyto praktické úložné prostory jsou ideální pro uskladnění oblečení, potravin a dalších věcí.

Moskytiéry a závěsy do dveří

  • Chraňte se před hmyzem s našimi moskytiérami a závěsy do dveří. Jsou snadno instalovatelné a udržují váš kempingový prostor bez nepříjemného hmyzu.

Předstanová světla a vnější osvětlení

  • Osvětlete svůj kempingový prostor s našimi předstanovými světly a vnějším osvětlením. Nabízíme různé typy světel, které zajistí dostatečné osvětlení pro vaše večerní aktivity.

Nářadí

  • Pro všechny vaše kempingové potřeby nabízíme široký výběr nářadí, které vám pomůže s instalací a údržbou vašeho vybavení.

Ochrany proti hmyzu

  • Zajistěte si klidný spánek a pohodlí s našimi ochrannými prostředky proti hmyzu. Nabízíme různé typy ochranných sítí a repelentů, které vás udrží v bezpečí před nepříjemnými štípanci.
Načítám filtry...
Parametry
0 467040 467040
Parametry
Filtrace
Top značky
 
Zrušit filtry
T-kolík s příčným kolíkem, 50 cm
Ocelový T-kolík s příčným kolíkem. Délka 50 cm. V balení 1 kus.
T-kolík s příčným kolíkem, 50 cm
5,20 €
sleva 9%
skladem do 14 dní
 ks
Univerzální stanový kolík DBGM, 30 cm
Univerzální stanový kolík DBGM. Masivní kolík s dvěma háčky a otvorem. Pevná hlava s dvojitým hákem a otvorem. Silný hrot, široký kříž s velkou dunovou stupnicí.
Univerzální stanový kolík DBGM, 30 cm
7,60 €
sleva 7%
na objednávku
 ks
Velký šroubovací kolík s kroužkem pro psy, 42 cm
Velký šroubovací kolík s kroužkem např pro psy. Pochromovaná ocel o délce 42 cm.
Velký šroubovací kolík s kroužkem pro psy, 42 cm
6,50 €
sleva 10%
skladem do 14 dní
 ks
Speciální zemní šroub, 30 cm
Speciální zemní šroub pro pevné uchycení stanu a předstanu. Délka 30 cm.
Speciální zemní šroub, 30 cm
10,30 €
sleva 10%
na objednávku
 ks
Hliníkový kolík do písku a sněhu, 32 cm
Hliníkový kolík zejména pro poddajné půdy jako je písek, které vyžadují velkou styčnou plochu. Vhodný také do sněhu. Délka 32 cm.
Hliníkový kolík do písku a sněhu, 32 cm
5 €
sleva 12%
skladem do 14 dní
 ks
Držák slunečníku Brunner Waikiki Basic, pozinkovaný
Držák slunečníku Brunner Waikiki Basic, pozinkovaný. Délka 46 cm. Průměr 40 mm.
Držák slunečníku Brunner Waikiki Basic, pozinkovaný
6,50 €
sleva 17%
skladem
 ks
Držák slunečníku, pozinkovaný, 50 cm
Praktický držák pro uchycení slunečníků na pláži nebo u jezera.
Držák slunečníku, pozinkovaný, 50 cm
10,50 €
sleva 11%
skladem do 14 dní
 ks
Držák slunečníku, plastový
Držák slunečníku nebo anténního stožáru. S namontovanou rukojetí, kterou lze odklopit. Různé barvy, zasíláme dle skladové dostupnosti. Vnitřní průměr 28 mm.
Držák slunečníku, plastový
5,80 €
sleva 12%
skladem
 ks
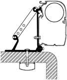
Adaptér universal střešní
pro markýzy Omnistor serie 2 a 5
Adaptér universal střešní
67,10 €
sleva 9%
skladem
 ks
Stanový set, 34-dílný
Stanový set, abyste vždy měli po ruce nářadí pro stavbu stanu a nemuseli nic hledat. Set obsahuje 34 kusů.
Stanový set, 34-dílný
19,40 €
sleva 9%
skladem
 ks
Adaptér universální Van
pro markýzy Omnistor serie 2 a 5
Adaptér universální Van
79,70 €
sleva 9%
na objednávku
 ks
Adaptér VW T2/T3
pro markýzy Omnistor serie 5
Adaptér  VW T2/T3
102,30 €
sleva 9%
na objednávku
 ks
Adaptér VW T4
pro markýzy Omnistor serie 5
Adaptér VW T4
77,40 €
sleva 9%
na objednávku
 ks
Závěsný regál Ever-Plast
Závěsný regál Ever-Plast se 4 otevřenými přihrádkami a 2 zásuvkami. Rozměry 33 x 120 x 33 cm.
Závěsný regál Ever-Plast
31,30 €
sleva 9%
skladem
 ks
Závěsný botník
Závěsný botník s ramínkem na zavěšení. Lze použít i na jiné potřeby.
Závěsný botník
42,10 €
sleva 9%
na objednávku
 ks
Cestovní závěsná taška na boty
Cestovní závěsná taška na boty. Praktická taška na zip pro 3 páry bot, vyrobená z odolného nylonu. Rozměry 36 x 14 x 36 cm.
Cestovní závěsná taška na boty
9,40 €
sleva 20%
na objednávku
 ks
Skříňka Outwell Bahamas
Skříňka Outwell Bahamas je stabilní skříňka se dvěma přihrádkami, vnější kapsou, s odvětráním.
Skříňka Outwell Bahamas
95,90 €
sleva 10%
skladem
 ks
Dometic PR 2000 4,5 m černá
Střešní markýza pro dodávky, menší obytné vozy a karavany. Ovládání manuální. Barva krytu černá, barva tkaniny šedá. Délka 4,5 m.
Dometic PR 2000 4,5 m černá
NA DOTAZ
na objednávku
Fiamma Privacy Ultra Light 400
Díky rychlé montáži a jednoduchému a praktickému použití je Privacy Ultra Light zajímavý zejména pro krátkodobé pobyty, víkendy a pro ty, kteří neustále cestují.
Fiamma Privacy Ultra Light 400
973,20 €
sleva 9%
skladem do 14 dní
 ks
Koberec Dometic Rally Air Pro 390 Continental
Koberec Dometic Rally Air Pro 390 Continental dodá vaší markýze větší pohodlí. Prodyšný koberec, který je trvanlivý, odolný a snadno se čistí.
Koberec Dometic Rally Air Pro 390 Continental
106,80 €
skladem
 ks
Easy camp Thetford Dometic Outwell Robens Brunner Campingaz Cadac Coleman Reimo Easy camp Thetford Dometic Outwell Robens Brunner Campingaz Cadac Coleman Reimo Easy camp Thetford Dometic Outwell Robens Brunner Campingaz Cadac Coleman Reimo

Novinky a slevy od Kobras

✓ Děkujeme za přihlášení k odběru novinek